本文于2019年10月8日首发于公众号品玩,作者范俊杰
一、现身
如果不是区块链和加密货币的概念一夜之间炙手可热,“币圈”的庄家们可能还在过着闷声发大财的逍遥日子。
但现在这种平衡被打破了。最近一年,数字货币和替代性加密货币的价格暴涨,各种版本的炒币暴富神话在网络上流传。2017年9月,中国的监管机构下令禁止境内的ICO交易,并陆续屏蔽境外ICO交易平台的域名。这非但未能消灭“圈外人”的入场热情,反而激发了公众的窥探欲,更引发了传统风险投资界的焦虑和参与。
2018年除夕,一系列名为“三点钟无眠区块链”的微信群横空出世,在各种区块链微信群里呼风唤雨的,是薛蛮子、徐小平、蔡文胜和王峰这样的传统天使风险投资人。大佬们坐而论道,谈区块链技术的未来和区块链的应用场景,号召人们关注区块链,拥抱区块链的未来。无独有偶的是,他们在微信群里的每一次“私密分享”,都会成为广为流传的微信朋友圈素材和媒体报道的来源,更是把“全民区块链”的热情推向高潮。甚至区块链之外的互联网产业都被戏称为“古典互联网”,现有的私募股权投资模式也被调侃为“古典互联网投资”。
传统互联网的苍天死了,区块链的黄天立了。有意思的是,这些突然闯入的“前古典投资大佬”表现出对区块链异乎寻常的兴趣,却绝口不谈比特币和其它加密代币,或者干脆直接与“炒币的”划清界限。但微信群里的信徒们和所有关注他们言论的看客们,几乎无一不试图从他们的言论和态度中,寻找、坐实并放大币的交易价值。
也并没有人真正清楚这些大佬们炒不炒币,持有多少币,赚了多少钱。
这些群里也有一些几乎从不发言,但闷声发财的人。这些人不求虚名,比活跃的新晋区块链意见领袖们,赚到了更多的钱。
他们是区块链加密货币交易世界的庄家。
2017年底,一个名为IOST的区块链项目正在筹划ICO,募资数额巨大。在ICO之前的私募阶段,该团队宣传称其背后的投资方有真格基金、红杉中国和险峰长青等知名风投机构。阵容可谓豪华。随即有媒体发现,“IOST”项目团队与真格基金投资的“多拉打印”团队在人员上高度重合,质疑项目是”多拉打印”的融资马甲,猜测IOST只是一个“空气币”项目。
此事后来不了了之,但一个叫“杜均”的名字浮出水面——
“IOST”是由火币网旗下HuobiLabs孵化的项目。火币网是其主要投资方,也是联合首发的交易所,而杜均是火币网的联合创始人、独立董事和股东。
除火币网和真格基金之外,“IOST”和另一个项目“DATA”的共同投资方还有一家叫“节点资本”的机构,该机构专注区块链领域投资,杜均也是节点资本的创始合伙人。
与此同时,“IOST”在一家区块链垂直媒体——“金色财经”上,曾被积极推荐,而“金色财经”的实际控制人,又是杜均。
利益交叉复杂,线索却再清晰不过。从项目孵化开始,到登陆交易所公开流通,再到垂直媒体的配合炒作,一场ICO的每一个环节,杜均都深涉其中。
PingWest品玩发现,自2013年与李林等人一起创办“火币网”起,杜均渐次在“币圈”里建立起了自己的产业链,时至今日,他已然坐拥私募股权投资、垂直行业媒体和数字货币交易所三大核心资源。而这三大资源平台,恰恰又是一场ICO最依赖的部分,也是各种内幕交易和暗箱操作的温床。
如果以股票市场作比,杜均是一个身兼承销商、证券媒体以及坐市商三大角色于一体的“超级庄家”。
数字货币和各类代币虽脱胎于“去中心化”的美好愿景,但在实际运行过程中,由于被大量“中心化”的机构垄断资源,项目发行“空气币”涉嫌欺诈融资、私募代投和操纵币价的乱象盛行,已经发展到不能忽视的程度。
“超级庄家”杜均和他背后的产业链,可谓是展示当下整个数字货币交易市场坐庄手法的一个样本案例。
二、杜均其人

杜均,重庆开县人,1986年出生。
媒体鲜有关于杜均的报道,零星的信息大多来自2017年9月之前他集中接受的一些媒体专访。但这些足以让我们了解到他的发迹史:
杜均有很强的赚钱意识,这源于他的成长经历。杜均父亲在其幼年做生意经常赔钱,从小的耳濡目染,使得“赚钱”从那时开始便成了他最重要的人生目标;
初中期间,杜均接触到了刚刚在中国兴起的互联网。他曾靠打游戏卖装备、建站赚广告费谋生,是早年间国内互联网野蛮生长时代孕育的无数个人站长之一。以此为契机,杜均接触到了与实体经济截然不同的虚拟经济;
他没有完成大专学业就毅然辍学北上,一度沦在餐厅打工。但凭借常年混迹互联网圈积累的经验和圈子,杜均成功进入知名企业家和天使投资人戴志康创立的康盛创想,在旗下Discuz!担任产品设计相关职务。康盛创想于2010年被腾讯全资收购,只有高中文凭的杜均得以进入中国最大的互联网公司工作。
WBF已上线项目PCCD与华融基金深度达成战略合作:据官方消息,新加坡WBF交易所已经上线的PCCD美业生态携手华融基金深度达成战略合作,第一阶段销毁尚未发行的9000万枚决定永久销毁(打入黑洞)减半计划届时PCCD进入绝对通缩的时代,将权利回馈给用户、将权益交给玩家减半计划将对PCCD社区建设和生态发现带来积极响应。[2021/3/19 19:01:38]
据说,杜均私下曾跟人宣称,自己22岁就已经实现了财务自由。这一说法的真实性无从考证,但有一点却是事实:杜均年轻时确实靠倒卖域名掘到了第一桶金。
在频繁触网的那段时间,杜均知道了“蔡文胜”这个名字,后者倒卖域名发家致富的经历深深地刺激了他。他依样画瓢,不停买入有升值潜力的域名,等其升值后卖出。多处关于杜均的报道中都提到,他在团购领域“千团大战”时靠囤积带有“团”字的域名发了一笔不小的财。在一篇由杜均自述构成的报道中,他罗列了自己在2006年到2013年之前每一年的域名买卖情况,每一笔交易的投入和回报都有详细记录。
这时候,比域名更刺激的“比特币”出现在他眼前。
2013年下半年,杜均从腾讯辞职,与李林等人联合创立数字货币交易所——火币网。昔日的领导戴志康则成了火币网的天使投资人。
后来的事实告诉我们,这绝对是一次回报极高的投资。
杜均的职务是火币网首席营销官。火币网在2013年底上线,立即打出了“免交易手续费”的旗号,狠狠戳中当时交易所收取交易费的软肋。再加上杜均在站长时期积累的运营经验,平台很快一跃而起。只不过,等到火币网发展壮大、杜均退出直接管理隐居幕后时,它随即连同国内几大交易所重新开始收取手续费,甚至开始向项目收取巨额的ICO“上币费”,这些都是后话了。但无论如何,周鸿祎在中国互联网行业将“免费”逻辑发扬光大,杜均是这一方法论在币圈的早期践行者。
这时,他的人生高潮刚刚开始。
现在看来,他的确对低买高卖有着很好的感觉,先是域名,后来是数字货币,两者都是极具潜力的投资标的和炒作素材。
其实杜均并不算是站在大潮最前沿的那个人。当他开始倒卖域名,跟当时的个人站长们打成一片时,蔡文胜早已靠此起家,还被人称作“个人网站教父”;他接触到比特币投资虽然比行内大多数人早,可也不过是2013年左右的事情,很难确定他对加密货币和背后的区块链技术有什么积累和信仰;当他辞职参与创办火币网时,距离交易额一度占到比特币总额80%、圈内人戏称为“马桶盖”的Mt.Gox上线已过去了好几年,国内市场也诞生了“比特币中国”这样的交易所先驱。
但他有着比别人更强的行动力,以及赚钱的欲望。
火币网上线一年多之后,杜均退出火币网管理层,创办了区块链代币媒体“金色财经”,又顺势募集了自己的基金”节点资本”。从某种意义上说,金色财经和节点资本相当于火币网的衍生产品,三者共同织就了一张覆盖整个ICO链条的网络。
随着这张网络的铺开,杜均个人在圈内的影响力也日益强大。当他再次低调亮相时,已然身兼“节点资本创始合伙人”、“金色财经创始人”和“火币网联合创始人”三个头衔。
在很多没有参与过传统股票交易市场的“币圈人”眼里,杜均这是在“布局产业链上下游”,但倘若以金融市场的角度看待数字货币交易,他的角色简直不可思议。
数字货币的本质是金融产品,各类数字货币在交易所内和场外的币币买卖已经构成事实上的类证券交易行为。而杜均所谓的“产业布局”,实际上相当于将券商、交易所和媒体,由一人或者同一利益方全权掌握。三个市场角色之间没有任何隔离和第三方监督,同时又因为数字货币没有被承认为法定货币,或不适用于现有金融监管条例,这使得杜均和他的“产业布局”,在操纵项目ICO全程,以及“上市”后的币价走势上,简直轻而易举。
事实上杜均的确也这么做了。
三、超级庄家
相信很多人都曾看到过下面这张图:

在这副所谓的“币圈大佬扑克牌”中,杜均被排在一个不起眼的位置。不必说与比特币发明者中本聪、以太坊创始人VitalikButerin或是中国比特币第一人李笑来相比,杜均在圈内稍有名望的大佬中也排不上号。他的人物介绍是:“金色财经创始人”。
这其实不符合金色财经这家媒体在币圈的影响力,也不符合杜均的江湖地位。
金色财经是币圈最早、也是流量最大的“媒体”之一。除了针对国内读者的中文站,另有英文、韩文、日文和俄文分站,分别面向全球数字货币交易最热门的几个国家:中国、美国、新加坡、韩国、日本和俄罗斯。在这里你可以看到币圈发生的一切——币价行情、最新消息、知识普及和观点评论等等。当然,其中还掺杂着大量区块链项目的推广软文,以及各类ICO的促销广告。
上海市新型产业规划通知:推动区块链等新兴技术深度应用:上海市经济和信息化委员会等部门发布关于印发《临?港新片区创新型产业规划》的通知:强化数字赋能,发展数据产业,探索建立安全高效的跨境数据流动机制,建设信息服务开放合作的“连接器”和“数字丝路”的枢纽口岸。推动数据产业新技术新应用。优先发展与新片区产业融合度高、国际合作性强的工业软件、云计算、大数据、离岸信息服务等产业,增强信息技术创新能力,大力推进基础软件、行业应用软件、信息安全软件、区块链、边缘计算等的研发应用,支持高端化数据处理、数据分析、数据挖掘等数据增值服务。
以智能制造为引领,以主攻高端、精密提升、拓展服务、智能升级为重点,打造世界级智能制造产业中心。着力开展智能制造模式示范。推动5G、人工智能、区块链等新兴技术深度应用,在民用航空、汽车、海工、医药等领域试点示范智能制造新模式,加快建立以状态感知、实时分析、自主决策、精准执行、学习提升为特征的智能制造系统,打响新片区“智能制造”品牌。(上海市经济和信息化委员会官网)[2020/9/24]
币圈人对金色财经褒贬不一。有人视其为币圈的风向标,“金色财经说什么就是什么”;有人则怒斥它经常对外放捕风捉影的消息,操纵币价。但多数人都承认一点,金色财经在币圈有着很大影响力,是这个圈子里少有的掷地有声的大媒体之一。
众所周知,无论是传统的证券市场还是数字资产交易市场,新闻媒体都是买卖双方最主要的信息来源。在价值投资缺位的币圈,消息左右币价的能力更加强大。
但证券市场有着充分的监管限制和信息披露,这是各类ICO项目和数字货币交易所不具备的。既然数字货币不适用于现有的证券法律法规,那么作为“币圈证券媒体”而存在的金色财经无论发布什么信息,其内容倾向如何,理论上也都不受制约。
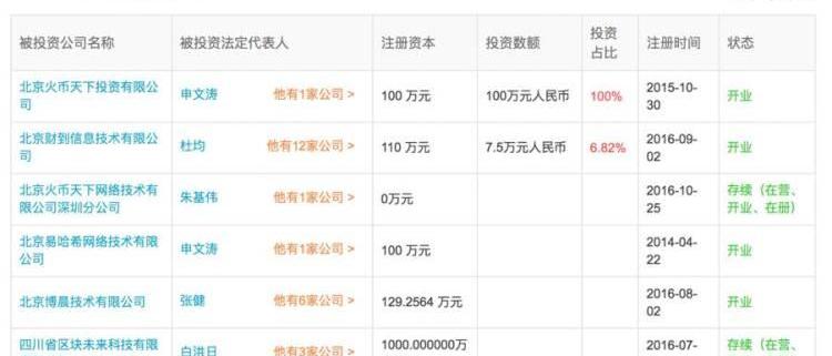
根据天眼查披露的企业工商信息,杜均为金色财经背后的企业主体“北京财到信息技术有限公司”最大单一个人股东,持股52.27%,为实际控制人。

金色财经构成了杜均坐庄网络上的第一个关键节点:控制消息发布。
继续沿着此线索追溯,可以发现:杜均虽然已经从火币网离职,但其实藕断丝连。在火币网的国内企业主体之一“北京火币天下网络技术有限公司”中,杜均仍持有4.22%的股份,同时还担任着该公司的独立董事。而“北京火币天下网络技术有限公司”也参股了“北京财到信息技术有限公司”。

也就是说,火币网也是金色财经的股东。这也就不难解释为什么金色财经上存在着大量火币网的利好消息了。
值得多提一句的是火币网的股权结构。火币网总部位于新加坡,在全球各地都有团队,所以中国境内的“北京火币天下网络科技有限公司”只是其企业实体之一。在国内的工商信息中可以查询到,一家注册在香港的HuobiUniversalLimited公司与火币网及关联公司有着诸多交叉持股关系。
不过,火币网官方网站上显示的戴志康、真格基金、红杉中国等投资方与火币网的持股关系,在国内的工商信息系统中,并没有得到完整的体现。

杜均和火币网之间的利益关系?
这意味着火币网有着周密的股权安排,国内这家公司只是冰山一角。火币网的公司实体和真实股东分布在多个国家,其完整结构难以彻底查清。
即便如此,至少有一点可以确认,即杜均、火币网和金色财经之间为交叉持股关系,在公司层面是典型的利益关联方。
这构成了杜均庄网上的第二个关键节点:持有交易所股份,分享操盘收益。
与证券交易所不同,数字资产交易所完全是私人企业,不需要承担社会责任,可以参与到前期发币和上市后炒币的任意一个环节中。圈内人都清楚,这是一门稳赚不赔的生意:每个ICO项目想要登陆交易所都要缴纳价值上千万人民币的上币费用,以法币、以太坊、代币的形式缴纳,或三者混合;无论币价涨跌,任何买卖交易交易所都能从中收取手续费,杠杆交易中交易所还能收取高额的借币利息;交易所可以利用沉淀在交易所里的用户资产操盘炒股,甚至无需动用本金制造虚拟交易……可谓无所不能。
IOST战略投资去中心化金融项目RAMP DEFI 并达成深度合作:据官方消息,IOST与Alameda Research, ParaFi Capital, Arrington XRP Capital, Torchlight Ventures, Signum Capital, Blockwater, Ruby Capital, MW Partners, LayerX Capital和MoonRock Capital等基金共同私募投资了去中心化金融项目RAMP DEFI 。除战略投资外,IOST还与RAMP DEFI达成了深度合作,将共同打造繁荣的DeFi生态。据悉,RAMP DEFI推出TVU (Total Value Unlocked) 的概念来衡量在DeFi生态中解锁出来的流动价值,即将于2周内进行公募。[2020/8/24]
根据全球虚拟货币和交易所统计网站CoinMarketCap的实时数据,火币网在24小时交易量中一直稳居全球交易所前五名,经常挤进前三。
理论上只要掌握交易所这一核心资源就可以坐庄。但杜均的圈子胃口不仅限于此。
杜均的最后一重身份是“节点资本”创始合伙人。这是一家私募投资基金,也是杜均庄网上的最后一个关键节点。
像大多数专门投资区块链及数字货币项目的私募投资机构一样,节点资本很年轻,2015年才正式成立。这类机构的投资模式与传统私募股权投资不同,通常使用数字货币和法币结合的方式投资项目,行为发生得极为隐蔽。
在节点资本的官方网站上我们可以看到,节点资本也是火币网和金色财经的投资方。换句话说,杜均不但自己参股了火币网,其控制的节点资本也是火币网的股东之一,这说明杜均在火币网中的持股并非只有4.22%。

初步统计,节点资本的投资组合里,其中有一半项目完成了ICO,而这些ICO大多是在最近几个月时间里完成的,这其中就包括炒币者们耳熟能详的GeranoNetwork、IOST、YEE和aelf等项目。
基于杜均的“三重身份”,他可以用“节点资本”投资早期项目,项目ICO后登陆自己持股的交易所,手上的媒体资源又可以为项目“保驾护航”。这是一个完整的生财体系。
这在传统二级市场完全不可想象。待上市企业、证券媒体、证券公司和交易所,它们分别是独立的存在,每一部分的行为都在证券法规的严格控制之下。这样做的目地是让二级市场的交易运作透明、规则公平,消除公共投资者的信息不对称,是全球通行的基本法则。但在币圈,它们之间非但没有隔离,甚至可以是同一个人在幕后操盘,坐享ICO每一个节点上的巨额利润。
比起一些仅参与了部分ICO链条的币圈名人,杜均某种程度上掌握着比他们更大的话语权,是名副其实的“隐形大佬”。
条件皆已具备。随着全球范围内数字货币交易逐渐升温,ICO井喷,坐庄的机会自己就找上门来。
四、诡异的乌龙
炒币者们可能永远都忘不了2017年12月代币“WAX”登录“火币Pro”交易所后,狂跌99%的惨烈景象。
2017年9月4日,有关部门对ICO的监管禁令出台,中国内地原有的交易所格局发生了一场戏剧性的变化:比特币中国直接宣布当月底停止交易,后来市场上传出其被香港投资基金收购的消息,但没有对外披露任何交易细节。原本默默无闻的小交易所“币安”立即行动,将平台迁至海外,项目也趋之若鹜,币安也一跃成为交易额最大的交易所之一;火币网则将交易平台整体迁至海外,并改名为“火币Pro”,同时还上线了多个语种的交易平台。
而戏剧性的是,各类代币ICO井喷的时间点,都发生于2017年9月4日ICO禁令之后。
据不完全统计,2017年11月至12月的短短两个月时间里,“火币Pro”上币数量达到近40个,2018年前两个月的数量高达45个。换句话说,超过80%的币种,都是集中在最近四个月时间里登录火币Pro的。
火币网正式将所有币种的交易迁至火币Pro之后,开始的两个多月,项目上币是不收取费用的。直到“WAX”的ICO事件。
2017年12月,一家叫做OPSkins的游戏虚拟资产交易平台宣布ICO,公开发行自己的代币WAX。按照原定计划,WAX将在2017年12月20日在火币Pro上线交易。
然而就在正式上币的2天前,WAX项目团队突然在Twitter和Medium等社交网络上发出通知:将代币数量拆分,增发至原有10倍,币价瞬间贬值至原价的一成。但火币Pro在20日却仍以原价格上线WAX,这使许多没有看到通知的散户投资者,在不知情的状况下以原价买入。不出所料,WAX上线后币价旋即跌去99%,大量投资者被套牢。
上海市将研究推动节能项目和区块链技术深度融合:上海市发改委印发上海市2020年节能减排和应对气候变化重点工作安排的通知提出,推动城市交通电动化和清洁化,挖掘节能改造潜力。开展余热资源共享模式的创新与实践,完善“互联网+余热共享”的大数据库交互平台,加强供需对接,促成一批示范性项目。研究推动节能项目和区块链技术的深度融合。(第一财经)[2020/4/30]
WAX乌龙事件震惊币圈。6天后,也即12月27日,火币网就此事件召开发布会,CEO李林出面解释事件原委。李林称:此事并非WAX团队恶意增发,而是因为双方商务团队没有及时沟通所致。火币网随后出台了一项赔偿计划,称会拿出1亿元全额赔付用户,并承诺在2018年1月31日前赔付完毕。
与赔偿计划一起,火币Pro宣布立即停止免费上币服务,对项目ICO收取上币费用,并进行资质审核。
现在看来,WAX事件仍存在重重疑点:
第一,WAX在上线前至少2-3天即在Twitter上宣布增发,并于12月19日在Medium上发表公告宣布此事。而作为WAX唯一且首发的交易所,火币Pro称对此完全不知情,团队在上币前两天与项目方没有任何信息沟通。
第二,WAX是由OPSkins这一项目的团队发行的,该项目上线于2016年,自称全球领先的虚拟游戏装备交易平台。但Google、维基百科、Steam社区以及各种公开资料中,这个交易平台的信息甚少。
第三,节点资本恰好是WAX的投资者。WAX是OPSkins团队的代币项目,杜均进入WAX的方式很可能只是公开交易前的私募阶段。火币网的独立董事及股东之一杜均,作为项目的私募投资方,竟然也不知道WAX要1:10拆币的消息,或者是知情,但没有跟火币网的任何人进行沟通。三者之中没有在两天的时间里互通信息,本身就非常不合常理——毕竟,这次事件的赔偿金高达1亿元人民币,而它又是由一个如此荒谬的原因造成的。
最后,无论是火币网官方还是李林的澄清,都对火币网和WAX之间的关系只字不提。
更意味深长的是,WAX事件之后,金色财经上随即出现了几篇为该事件和火币网“澄清”的文章,它们也同时被群发在了各个网站渠道上。
现在没有确切的证据显示这是一场有预谋的欺诈事件,但火币网和WAX团队也的确没有针对以上的疑点作出符合常理的解释。
无论如何,从WAX事件开始,在火币Pro上币更难而且更贵了——目前,几家平台的上币费都暴涨至几千万人民币。另据一位试图在火币Pro上币的项目方透露,火币对他们只收现金作上币费。可这丝毫没有浇灭项目们的热情。
另一边,在此之后的两个月里,杜均和节点资本似乎完全没有受到WAX影响似的,出手的ICO项目更多、更频繁了。
五、庄技
庄家,通常指能够影响金融证券市场行情的大户投资者,在股市中常常是上市公司所有者、投机游资和基金机构。
以1990年12月上海证券交易所正式开业为起点,中国内地股市经历了单一庄家坐庄、金融集团坐庄和基金机构坐庄等几个时期。1995年到2005年的十年间,国内股市庄家横行,利用监管空白、信息不对称和资本优势狂洗股民。此后,随着上市企业增多、股票流通盘扩大,加上大量散户投资者涌入股市,庄家虽不复当年的辉煌,但仍然分散隐身于市场之中伺机而动。
另一边的散户们永远对庄家又爱又恨——跟着“小道消息”和庄家同进退,一直是散户投资者,准确地说是投机者的渴望。然而,历史证明,跟庄成功者少,被庄家玩弄者众。
《庄家之死》一书的作者陈斯文曾评价这一现象:直至今日,国内股市仍未摆脱“庄家炒作、民众投机”的怪圈。诚然,在后来2007年和2015年的两次大牛市中,大众的投机心理与此前混乱的十年并无不同。
中国股市的庄家史给当下的币圈提供了一个绝佳的参照系。
非主流代币公开交易后与上世纪90年代中国股市上的股票们并无二致,炒币者的潜在收益更大,面临的环境也更加混乱凶险。
与IPO类似,ICO有着一套独立的发币、私募、承销和公募流程。在项目的私募阶段,基石投资者、早鸟投资者以及其他早期投资者分别用一定折扣认购代币份额,拿到大份额的承销商则会向下分发,帮助散户代投赚取差价。另外,官方还会利用各种社群活动空投糖果,在币圈媒体作广告投放,或是直播空投等方式免费赠送一部分代币,刺激散户参与。
多数项目ICO时只有团队和白皮书,没有实体业务和资产,因此需要靠币圈大佬站台,知名人士作为顾问,以及私募投资者和承销商做销售背书,才能获得投资者的关注和信任,并认购份额。2018年初,币圈名人“宝二爷”在一次行业分享中说:自己为项目做顾问站台的收费标准是1%的待发代币,前不久在美国给几个项目“云站台”就净赚500万美元。行业中顾问们的暴利可想而知。
这其中隐含着一个事实:项目早期的股权投资人、创始团队和代币私募阶段拿到份额的大户投资者和顾问们,在公开交易前都通过认购或是被赠送的方式持有为数不少的代币,有着共同的利益诉求——希望自己手上的币升值。
声音 | 陈宗建:利用区块链等技术和实体经济的深度融合:据中国金融商报网3月10日报道,新经济专家陈宗建在接受美国华文新锐媒体《中美创新时报》湾区经济专题访谈时表示,相比较粤港澳大湾区和杭州湾大湾区,数字自贸区将是渤海大湾区最大的亮点。他认为,数字自贸区建设尤其是先行示范区的建设一定要以若干科技手段、市场机制、政策机制和法律机制等创新举措作为推进手段。要以数字科技手段推进数字自贸区建设,充分运用大数据、云计算、物联网、人工智能、区块链等技术和实体经济的深度融合。[2019/3/10]
这种扭曲的行业关系和“健康的ICO市场环境”,几乎背道而驰。
根据公开资料的不完全统计,在2017年11月至2018年2月的短短4个月时间里,节点资本投资的ICO项目至少有12个,几乎所有项目都得到了金色财经的推荐,其中还有不少联合火币Pro进行了首发促销活动。


一位业内人士对PingWest品玩透露:金色财经与其它大多数媒体不同的是其掌握的“交易所资源”,金色财经的商务方案,包括火币Pro的交易所作为资源打包提供给ICO项目。
杜均一手投资ICO,一手用金色财经帮这些项目摇旗呐喊,身兼运动员和啦啦队两个角色,各不耽误。
这还不是这场局中最精彩的部分——如果仔细观察这些代币ICO后在火币Pro上的走势你会发现,杜均还是裁判之一。
以下是杜均投资的部分项目在ICO后的盘面。在币币交易中,分析盘面的指标与股票市场基本一致,因此各类股票分析工具同样适用于于币价分析。




在此我们选择股票分析两个核心指标:“佳庆资金流量”和“成交量摆荡”。
佳庆资金指标为股票市场常用分析工具,它用于描述一支股票的强弱状态。这个指标与股价的关系是:CMF会随着股价缓缓上升,股价下跌CMF也会跟着下跌。当CMF指标大于0时,市场向好,反之则向坏。波动越大,买入/卖出的压力越大。在同一时间点,CMF如果与价格呈相反状态,就意味着行情的转变。
成交量摆荡是一种用曲线方式展示交易量的工具,短期成交量高于长期平均成交量时曲线为正,反之则为负,用来描述交易量的短期变化。
将这两个经典指标与价格走向叠加之后,可以基本判断出主力资金的进出情况。这个指标组合存在滞后,但描述清楚过去一段时间里大额资金的流动足够了。
根据几个指标的关系,
CMF和成交量摆荡同时拉高,在币价达到最高点之前达到顶点并出现向下信号,意味着行情反转,庄家开始出货;
CMF从0线以下向上抬升、成交量摆荡出现异常波动,但价格未有相应明显变化,说明庄家正在吸货;
CMF弱于0线、成交量摆荡波动小,同时价格也趋于平稳,说明此时市场上大额资金很少,主要是散户在博弈;
如果成交量摆荡大幅波动,CMF和币价却没有出现相应的大幅波动,说明市场上存在大量对敲交易,这是典型的操纵价格现象。
在DTA、IOST、WAX和YEE等几个币种中,都出现了以上一种或几种大额资金的操盘痕迹。其中有几个币种在刚刚上线交易时有明显拉盘现象。
通过对一些“币圈”人士的采访,PingWest品玩了解到其中一部分事实:币圈的“控盘者”主要是项目团队本身、机构投资者和交易所三拨人。在证券市场中,释放消息拉盘砸盘、掌握筹码对倒操纵价格、震荡洗盘、拉升股价后高位抛货,这些一直是股市庄家们乐此不疲的坐庄伎俩。而在币圈,这些手法一样都没被庄家落下。
但不一样的是:同样是有着庄家存在,证券交易所的运行在国家的严格监管之下,庄家想要坐庄,必须具备大量本金,吸收大量筹码,而且多账户同时操作,才可能实现控盘;而在币圈,交易所在散户真正提币之前,一切的交易都是虚拟数字,前台运行的买卖手完全可以是自动运行的机器人程序,不需要真正的币币流动。
另有一个现象可以为庄家操盘提供侧面佐证。根据上文的表格,自2017年12月开始,每个币种登录火币Pro开始交易后,开放充值和提现的间隔时间越来越长——较早登录的项目通常当天即开放充值和提现,慢慢地,提现时间至少要间隔2天,甚至更久。这相当于交易所人为地设定了一段封仓时间,而很多代币在这段时间里,足以完成几轮操盘了。
实际上,许多散户投资者非常清楚有庄家和交易机器人的存在。在火币Pro官方Telegram群组和一些项目的官方讨论群中,有的散户甚至直接呼吁交易所和项目拉盘。他们一边在社群里骂骂咧咧,一边乐此不疲地参与其中。
炒币的投机本质暴露无遗。
最近发生的一起疑似交易所直接操盘事件来自2月25日ABT的ICO。2月26日上午,ABT在火币Pro上由于“技术问题”出现卡单,许多挂出的高价单无法撤回,但页面显示仍有挂单在成交。卡单导致币价急剧下跌,投资者损失惨重。此事在火币Pro的官方Telegram群里引发大量用户投诉,火币客服则一直以“正在解决”和“汇报给领导”为由搪塞,没有对异常现象作出澄清说明,投资者们的质疑和谩骂也是置之不理。
整个“庄网”的做法大抵如此:节点资本投资并推动项目ICO,金色财经参与鼓吹,火币网上坐庄拉高价格出货或砸盘做空——无论这些行为是否由杜均亲力亲为,杜均都会以股东身份享有整个链条的巨额收益。
六、“圈外人”的掮客
庄网自然不止杜均这一张,掌握着核心资源的大佬也不止杜均一个。除了投资机构,各地还出现了不少利益捆绑的圈内联盟,大庄外围形成了不少小庄。积累了大量资本的庄家们织成了无数纵横交错的网络,或是联合投资,或是暗自较量,结果就是核心资源牢牢掌握在少数人手里。
如此明目张胆的坐庄行为,在证券交易市好比刀尖上舔血,在币圈的“圈内人”看来却是一种护盘的保证。
不止一位币圈散户投资者告诉PingWest品玩:圈外有什么负面消息和“黑幕”揭露,圈内人几乎没人在意——在他们眼里,无论有什么样的负面消息放出,跌到一定程度圈内大佬总会护盘,不会让所有人都血本无归。看起来,大家都把庄家们看作“善庄”了。
究其根本,无非是一种跟庄心态在作祟。私募阶段的投资者能以较低的折扣拿到代币,对于公募后的散户有着巨大的成本优势。ICO之前的低价份额掌握在庄家和大户投资者手里承销,为了拿到份额,中小投资者们往往默认让庄家赚大头,自己喝汤。
久而久之,圈内就形成了这样一种微妙的平衡——大家都想向各个庄家靠拢赚更多的钱。
这种平衡下的暴利势必会遭到圈外人的觊觎。新的投资者被金钱的味道吸引过来了,杜均的庄网也没放过这个机会,顺势当了一把掮客。
2017年年底,真格基金悄悄入场。
关于真格基金和区块链的关联,最有名的当属徐小平群内发言“泄露”事件。这一事件可谓正式引爆了整个互联网舆论对区块链和币圈的关注,“沾区块链和ICO就火”的现象由此愈演愈烈。
可圈内人都清楚,在徐小平发言泄露之前,真格基金参与的几个项目的ICO早已经在圈内炒得沸沸扬扬。公开资料显示,真格基金在2017年底密集参与了IOST、DATA、HOT和LINO至少四个项目的发币。目前,除了LINO之外,另外三个币种已经上所交易,LINO没有公开ICO。但LINO的Telegram群里每天都非常活跃,官方闷头投放糖果,投资者呼吁登录币所交易。
但代表真格基金在币圈活动的不是徐小平,而是合伙人戴雨森。
戴雨森,前聚美优品产品副总裁,于2017年7月离开聚美优品加入真格基金,担任合伙人职务。在戴雨森的LinkedIn页面上,最新的履历中清晰地写着自己目前担任IOST、DATA、LINO和HOT四个项目的顾问,这几个项目都是由真格基金投资的。这又是一处证明。

在2017年底一张由币圈媒体和交易所联合统计的“国内一线基金近期投资区块链项目一览图”里,除了几个新近成立的专门投资区块链的机构之外,传统风险投资机构中,只有真格基金一家参与颇深。

真格基金深度参与的这四个项目,节点资本都是联合投资方,最新上线火币Pro的EDU还完成了一整个链条的运作:节点投资、金色炒作和火币上币。
其中,IOST和DATA又是火币旗下HuobiLabs的孵化项目——考虑到真格基金同时是火币网的投资方,基本能判断这些项目都是由节点资本、火币网和真格基金联手投资和推动的。
可以说,带着真格入圈的掮客,正是杜均和他的庄网。
然而经过进一步调查,PingWest品玩发现:真格基金在币圈的作为似乎不止这些。在我们拿到的一份波场ICO的私募材料中,首轮私募投资者中戴雨森也赫然在列。这些信息没有在波场的公开募资信息中披露,却在私募阶段悄悄地通过社群和私下传播,被派发到了无数早期投资者手里。
再后来,事情的走向开始有些失控。高潮在2018年除夕到来:“三点钟”系列微信群建立,陈伟星和朱啸虎之间爆发“区块链”和“古典”之争。一夜之间,50多家区块链或币圈媒体冒了出来,拥抱区块链成为风潮。
传统风险投资机构也纷纷按捺不住了,不再“与币隔绝”。“三点钟”的各个分支群里活跃着各种各样来自传统风投的合伙人和投资经理。
原有平衡已然被打破,但这个圈子是否能够包容得下更多野心和贪欲,形成新的平衡,还是个未知数。
七、危局
2018年春节过后的币圈,形势看起来一片大好。
可“圈内人”都感觉得到,利益再也无法平均分配,财富开始明显地向一些头部资源流动。最典型的现象就是,对于项目方来说,ICO的成本越来越高,却无法保证高额收益。
2月28日,火币Pro的HADAX平台第一期投票结束。HADAX平台是火币Pro推出的“投票上币”项目,旨在由投票来决定哪些新币可以登录火币Pro交易。第一期投票结束,有10个新币种得到了上币资格。
这可不是意味着火币Pro想试着将ICO从“核准制”向“注册制”过渡。在HADAX上每向一个项目投票,用户需要花费0.1个HT。有媒体测算,按照2月28日当天的HT汇率,第一名EGCC项目花费近4800万元人民币,这些都进了火币的腰包。这还只是一个项目的费用。
此举遭到了多数媒体和圈内人士的质疑,认为这是火币网变相涨上币费的手段,与竞价排名别无二致。迫于舆论压力,火币Pro迅速开通“退币”机制,承诺可以退还投票费用,并公开向用户征集第二期投票上币规则的完善意见。
有圈内人士直言:如今的项目方,完全就是在给交易所打工!
据说,在一次近期举行的闭门交流论坛上,有ICO项目的宣发人员诉苦:称目前金色财经的打包宣发费用已经达到几百万。3月3日,新媒体“铅笔道”发表的一篇文章称,币圈媒体推荐项目ICO的软文收费惊人,甚至达到了一篇文章收费10万元的程度,但点击数只有200多。业内人士称,金色财经所收取的广告费只会比这个数字更大。
帮着项目方算一笔账,顾问费、上币费和宣发费用,一场ICO下来,手上拿到的钱所剩无几,这剩下的一点钱当中,又有多少能用来做产品开发?莫不是真的在“开发”空气币?
另外一个疯狂且危险的信号触动着每个币圈人的神经。
ICO后狂涨的美好景象破碎,大量代币上线火币Pro后破发,而且有着愈演愈烈的趋势。有圈内人士私下询问币圈知名投资人、FBGCapital创始人周硕基对这件事的看法,后者只说了一句话“看项目背后的团队”便再不作声。讽刺的是,随着破发的ICO越来越多,圈内竟然出现了“破发险”的险种。
看似热闹的币圈,慢慢地变成了一个零和博弈的战场——财富在大户手头流动,靠着频繁的交易维持盘面的热闹。然而,越来越多的散户体会到了“上市即破发”的痛,越来越多的财富被尽情地收割。
3月3日,全国政协十三届一次会议开幕,中国进入“两会时期”。就在大会召开前的一天,两大数字货币交易所火币网和OKEx的微信公众帐号突然消失,前者被删除“火币网”,被迫改名“huobicom”;OKEx则直接被封号,屏蔽一切消息。

这被舆论视作币圈“大事发生”的前兆,谣言四起。至本文发表为止,火币网和OKEx官方没有对此发表公开声明解释,两大交易所业务一切照旧。
八、“是时候了”
去年开始业内即有传言,包括杜均在内,币圈主要人物已经被限制出境。有几位独立信源先后向PingWest品玩证实了这个消息。当我们试图联系到其中一位早在站长时代就与杜均相识的人想要谈一些关于他的事,对方婉拒了采访请求,称“现在谈他太敏感”,不愿多说。
一张在圈内流传的微信对话截图显示:央行将会在315期间“有动作”,并称火币CEO和COO已经被限制出境。甚至有人说,不排除采用叫停矿厂挖矿的严厉措施。

就在3月开始后的几天,节点资本的网站信息,没有任何征兆地由中文全部替换成了英文。
越来越多的信息显示,国内新一轮的措施就要到来。
但大佬们似乎没有受到影响似的,在三点钟群里谈笑风生,私下里筹划币圈的“下一件大事”。
2月27日晚,币圈很多有头有脸的人物出现在北京的一个酒吧。起初这只是一个少数人的小聚会,但随着消息在社交网络上传开,越来越多的人赶来现场,小小的酒吧瞬间被包场。
小局变成大局,大局中又套小局。在一个只有核心人物的小局上,几个大佬商量,由最近在舆论中倍受瞩目的陈伟星牵头成立一个新基金,名为“2100”。关于2100这个名字有几个说法,一说是入会的人起码得是2100个比特币以上的身价,一说是这是陈伟星自己之前一个基金的名字,还有人说加入的人起码能搞定2100个比特币的资金。
当然,杜均也在其中。
文章写到结尾,我们与一位圈内人士确认关于“2100基金”和杜均的消息。对方得知的来意后,说了一句话:
“也是时候了。”
加密货币在主流交易市场中越来越受欢迎并被接受,同时它们的波动性也在增加,市场一直起伏不定。这件事情是由很多原因导致的,任何交易者都需要知道波动的原因以及如何应对波动.
1900/1/1 0:00:00前言 4月25日,在美国得克萨斯州的首府奥斯汀,这座充满活力和创造力的城市,欧科云链研究院与来自哥伦比亚商学院的AustinCampbell教授就美国加密监管以及其相关话题进行了一次深入探讨.
1900/1/1 0:00:00黄乐平韦昕等/文,文章来自微信公众号“中金点睛”在将要过去的2020年,我们看到围绕比特币等数字资产的生态环境发生了巨大变化,直接的感受是比特币价格过去一年上涨接近3倍,达到历史新高的2.7万美金,以及稳定币发行规模扩大3.5倍.
1900/1/1 0:00:00导语: 2022年以来,加密行业数场突如其来的暴雷事件给整个市场带来了非常严重的动荡,此前快速增长的加密生态也由此转为衰退.
1900/1/1 0:00:005月1日-5月7日当周,比较值得关注的动态如下:Sui主网正式上线;CosmosHub将在下次升级中实施流动性质押模块;ConsenSyszkEVM项目Linea推出忠诚度活动;Aztec宣布将推出混合型zkRollup网络;BNBG.
1900/1/1 0:00:00香港特区政府财政司司长陈茂波在近期举办的“2023香港Web3嘉年华”上致辞指出,现在是Web3发展的黄金机遇,也是最惊心动魄的时刻。Web3是基于区块链技术的去中心化网络生态,它既是对传统互联网生态的颠覆,也将带来商业世界的变革.
1900/1/1 0:00:00